如何看待双涂快固胶作用
双涂快固胶无溶剂复合在软包装行业的兴起始于drupa2016,其作为一种新型的软包装复合技术,整个复合过程无需UV灯,具有快速固化、常温固化、操作简单等优点。目前业内对双涂快固胶无溶剂复合有诸多探讨与争议,为了正确认识双涂快固胶无溶剂复合,本文将主要讨论双涂快固胶无溶剂复合的成本以及笔者对该技术的看法。
任何一项新工艺,其推广的基本要求是:技术上先进,经济上合理。我们评估这项工艺的成本是考虑正常制造条件下的总成本,不是试制或推广等条件下特殊优惠的价格。
双涂快固胶无溶剂复合成本究竟如何?我们可以从如下几个方面去评估:按当前情况预估,双涂快固胶无溶剂复合在设备投资方面,按照目前的机型和质量标准,比普通机型增加30%~60%;在胶黏剂方面,按照目前材料成本估算,比普通胶增加30%或更多;在涂胶量及涂胶成本方面,对普通结构而言,涂胶量增加20%~50%,涂胶成本增加50%~100%;对特殊结构而言,涂胶量增加20%~30%,涂胶成本增加50%~70%。
1.基本评价
短期内,双涂快固胶无溶剂复合还不具备进入实际生产的条件,更谈不上成熟。
①双边涂布与单边涂布的复合工艺差异很大,其对设备/胶辊、操作要求更高。概念简单,工况很难,难以实现稳定的工艺条件和质量。
②还有许多需要攻克的难题,现在的宣传明显过头或虚假。
③适应范围有限,成为主导工艺的理由不充分,在中国尤其如此。
中窄幅、图文简单、质量要求不高的场合可以考虑使用,但是在包装印刷领域,意义不大!毕竟包装印刷的最大特点之一是重复生产(每周、每月),以质量为代价换取交货期快1天,是不会被接受的。
2.主要建议
对部分有兴趣的企业或个人,笔者提出如下几点建议。
①正确定位。这项工艺可在有限范围内尝试,但不要指望在包装印刷领域大量推广。
②继续深化研究,特别是系统的工艺条件探讨,而且必须是全过程的研究:从复合、分切、制袋、包装到使用消费全过程研究。要做到这一点,首先必须建立完整先进的试验条件。
③已经安装设备的企业,尽早调整用途。设备供应商必须清醒:现在玩积木做双涂复合机,其实没有多少新增的技术含量,如给企业造成批量损失,大家将都是受害者。
④警惕虚假宣传。企业要减少投机心理,全面深入了解这些技术进展,不要只看广告或演示,消除走捷径、弯道超车的幻想,天上不会掉馅饼。
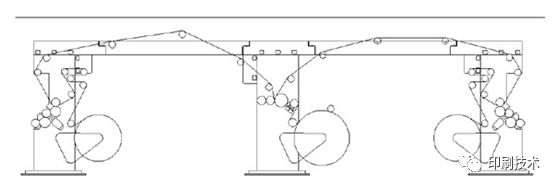
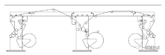
⑤使用更合适的机型。从技术角度看,现有三组式双涂复合机(如图1所示)是不太合理的布局,两组式双涂复合机(如图2所示,走料路径短,张力更稳定,废品率更低;更适应PE或铝箔类基材;机器成本更低)才是更适当的选择,尤其是进行PE和铝箔复合时。

图1 三组式双涂复合机

图2 两组式双涂复合机
(本文作者就职于广州通泽机械有限公司)

看了这篇文章
是不是对无溶剂复合又加深了了解?
又多了一份期待?
带着这份热情与期待
快来中国国际软包装高峰技术高峰论坛吧!
左光申将亲临现场
为大家分享无溶剂复合的最新进展和创新应用
![]()
左光申
中国印刷及设备器材工业协会VOCs治理工作委员会副主任委员、广东通泽机械有限公司董事长,1989年获西安理工大学机械制造专业工学硕士学位,专业基础扎实,创新意识强。2007年创立广州通泽机械有限公司,亲自参与了SSL系列无溶剂复合机的研发、小批量生产和产品系列化工作,成绩显著。他注重理论与实践相结合,通过理论和上机操作,最终为企业培训出了大批既懂理论又熟悉操作的无溶剂复合机长。
